IMPORTANT NEWS
新闻图片
Congratulations! Oriental Energy Maoming Company Honored as "Maoming City Advanced Collective," Comrade Lao Bibo Awarded "Maoming City Model Worker" Title

On the morning of January 20, the 14th Maoming City Trade Union Congress and the Commendation Conference for Model Workers, Advanced Workers ......

January 26, 2026 Reading volume:134
新闻图片
"14th Five-Year Plan" Exemplary Enterprise Demonstrates Industry Leadership — Zhangjiagang Plant Rises to Top 15 in City-Wide Enterprise Output Value

Recently, the Zhangjiagang Municipal People's Government released a list of enterprises recognized for their outstanding contributions......

January 21, 2026 Reading volume:132
新闻图片
New Energy Forklift Upgrade

With the support of the company's strategic deployment and strong leadership, the Ningbo PP Phase I (Warehouse/Packaging) facility completed......

January 19, 2026 Reading volume:112
新闻图片
Safeguarding the Foundation, Driving High-Quality Development — Oriental Energy (Ningbo) New Materials Co., Ltd. Holds 2025 Annual Work Conference on Safety Production

On the afternoon of January 6, 2026,Oriental Energy (Ningbo) New Materials Co., Ltd. convened its 2025 Annual Work Conference on Safety Production ......

January 07, 2026 Reading volume:276
新闻图片
Oriental Energy Ningbo Base The Second "Process Control Technician" Vocational Skill Level Certification Successfully Completed

The training commenced on June 28, with professional instructors from Ningbo Polytechnic University (hereinafter referred to as "Ningbo Polytechnic") serving as faculty......

November 14, 2025 Reading volume:117
新闻图片
Reducing Emissions by 10,000 Tons and Consumption by 1,000 Tons: Ningbo Facility's Energy-Saving Upgrades Show Significant Results

In active response to the national call for promoting green and low-carbon development in the manufacturing industry ......

September 19, 2025 Reading volume:134
新闻图片
A Research Team from the Guangdong Provincial People's Congress Visited Oriental Energy (Maoming) Co.,Ltd for Investigation, Encouraging the Company to Strengthen Confidence, Improve Operation Efficiency, and Contribute to the Provincial Development

On August 26, Huang Ningsheng, Deputy Director and Deputy Party Secretary of the Standing Committee of the Provincial People’s Congress......

August 29, 2025 Reading volume:85
新闻图片
Unleashing Equipment Potential to Practice Carbon Emission Reduction and Efficiency Enhancement —A Record of Energy-Saving and Environmental Protection Upgrades in the Propane Dehydrogenation Unit at Oriental Energy’s Ningbo Base

In recent years, Oriental Energy (Ningbo) New Materials Co., Ltd. has proactively implemented multiple energy-saving......

August 1, 2025 Reading volume:192
新闻图片
Oriental Energy's Three Bases Gather in Ningbo to Jointly Explore Cost Reduction, Efficiency Improvement, and Safe Development

On July 17, Oriental Energy Group held its first-half economic production analysis meeting at the Ningbo base ......

July 28, 2025 Reading volume:176
新闻图片
Oriental Energy Ningbo Base The Second "Process Control Technician" Vocational Skill Level Certification Successfully Completed

The training commenced on June 28, with professional instructors from Ningbo Polytechnic University (hereinafter referred to as "Ningbo Polytechnic") serving as faculty......

July 18, 2025 Reading volume:102
新闻图片
Ningbo Base Laboratory Supports Polypropylene Product Innovation and Upgrading

Recently, at Oriental Energy (Ningbo) New Materials Co., Ltd., the laboratory closely collaborated with the polypropylene......

July 11, 2025 Reading volume:82
新闻图片
Oriental Energy Ningbo Base Hosts First "Tour of Safe Production Facility" Winning Public Praise

On June 23, the first "Tour of Safe Production Facility" jointly organized by the ......

June 28, 2025 Reading volume:114
新闻图片
Progress Report on Carbon Fiber Project – HVAC Equipment Arrives Onsite

On June 10, six trucks fully loaded with equipment slowly entered the construction site of......

june 28, 2025 Reading volume:85
新闻图片
Oriental Energy (Ningbo) New Materials Co., Ltd. Holds Safety Production Month Skills Competition

On June 4, the company held a Safety Committee meeting and the kickoff ceremony for the Safety Production Month......

June 20, 2025 Reading volume:192
新闻图片
Patent for "A Sizing Agent for Carbon Fiber Modification, Its Preparation Method, and Application" Enters Substantive Examination Stage

Recently, an invention patent named “A Sizing Agent for Carbon Fiber Modification, Its Preparation Method, and Application” ......

June 20, 2025 Reading volume:76
新闻图片
Ningbo Plant Phase I Facility Successfully Restarts with Stable Operation

After an extended period of operation, the company decided to conduct maintenance and technical upgrades on the Phase I PDH (Propane Dehydrogenation) unit at Ningbo New Materials in March this year......

June 13, 2025 Reading volume:92
新闻图片
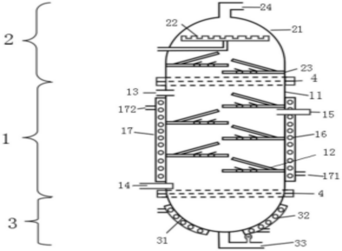
Polyacrylonitrile (PAN) Solution Continuous Deaeration Device ——An Efficient, Stable, and Intelligent Bubble Removal Solution

High-performance PAN solution is crucial for producing high-quality PAN precursor fibers......

June 13, 2025 Reading volume:102
新闻图片
Oriental Energy (Ningbo) New Materials Company Launches 2025 "One-Day Charity Donation" Activity

On May 20, 2025, Oriental Energy (Ningbo) New Materials Co., Ltd. actively responded to the call of the Beilun District Government and ......

May 23, 2025 Reading volume:102
新闻图片
Safety Pre-Evaluation Report Has Been Approved

On May 15, 2025, the safety pre-evaluation report for the 10,000-ton carbon fiber project of Oriental Energy (Maoming) Carbon Fiber Co., Ltd......

May 23, 2025 Reading volume:92
新闻图片
Oriental Energy (Zhangjiagang) New Materials Company Maintains Position Among Zhangjiagang's "Top 10 Enterprise Groups" ——Driving High-Quality Development Through Safety, Efficiency and Innovation

On May 9, 2025, the Zhangjiagang Municipal Government Office officially released the "2024 List of Zhangjiagang's Top 100 Backbone Enterprises."......

May 16, 2025 Reading volume:192
新闻图片
Technology Innovation Fortifies LPG Storage and Transportation Safety Defenses

Oriental Energy has established a comprehensive digital management platform across the entire industrial chain by deeply. ......

May 16, 2025 Reading volume:176
新闻图片
Oriental Energy's Carbon Fiber Project Secures Syndicated Loan, Accelerates Towards Trial Production by Year-End

The construction of Oriental Energy's million-ton T1000 carbon fiber project in Maoming Zero-Carbon......

May 12, 2025 Reading volume:192
新闻图片
Racing Against Time to Meet the Deadline, Uniting Efforts to Drive Production

In May, the construction of Oriental Energy (Maoming) Carbon Fiber Co., Ltd.'s 10,000-ton carbon fiber project is steadily advancing......

May 09, 2025 Reading volume:92
新闻图片
Strengthening Safety Defenses to Escort "May Day" Production Safety

To further enhance production safety during the holiday period, resolutely prevent various production safety incidents......

April 30, 2025 Reading volume:192
新闻图片
Gathering Strength to Fulfill Our Mission and Continuing the Struggle to Embark on a New Journey

On April 22, 2025, the Party Branch of Oriental Energy (Ningbo) New Materials Co., Ltd. held a general meeting of all Party members......

April 30, 2025 Reading volume:92
新闻图片
Oriental Energy’s First Batch of LFT Pellets Achieves Excellent Performance in Testing

Recently, the first batch of long carbon fiber-reinforced polypropylene pellets (Long Fiber Reinforced Thermoplastics, LFT), independently developed by Oriental Energy (Maoming) Carbon Fiber Co., Ltd. ......

April 30, 2025 Reading volume:76
新闻图片
Ningbo Municipal Leaders Investigate Oriental(Ningbo) New Materials Company

On the afternoon of April 23, Pan Yinhao, Member of the Ningbo Municipal Party Committee Standing Committee......

April 24, 2025 Reading volume:192
新闻图片
Patent Publication: "A Polyacrylonitrile Slurry Demonomization Device and Demonomization Method"

Recently, the China National Intellectual Property Administration disclosed the latest patent from Oriental Energy (Maoming) Carbon Fiber Co., Ltd., titled ......

April 24, 2025 Reading volume:176
新闻图片
Oriental Energy (Ningbo) New Materials Company Successfully Develops Ultra-High Impact High-Flow Specialty Material PPB MP15/M28

Oriental Energy's sales team, in collaboration with the polypropylene R&D and production team of Oriental Energy (Ningbo) New Materials Company......

April 18, 2025 Reading volume:238
新闻图片
Oriental Energy (Maoming) Achieves Historic Milestone: Daily Liquid Hydrocarbon Loading Exceeds 100 Trucks

Recently, Oriental Energy (Maoming) Co., Ltd.'s liquid hydrocarbon loading station under its Storage & Transportation Department......

April 18, 2025 Reading volume:138
新闻图片
Oriental Energy (Zhangjiagang) Y381H Polypropylene Receives Outstanding Market Feedback in High-End Fiber Applications

Oriental Energy's sales team, together with the Polypropylene R&D and production team from Oriental Energy (Zhangjiagang)......

April 11, 2025 Reading volume:38
新闻图片
Carbon Fiber Precursor Pre-crosslinking Technology: The "Golden Key" to Unlocking Large-Scale Carbon Fiber Applications!

Pre-oxidation: The Pivotal Stage Governing Carbon Fiber Performance and Production Economics......

April 11, 2025 Reading volume:238
新闻图片
First Batch of Carbon Fiber Reinforced Polypropylene Prepreg Successfully Rolls Off Production Line

On March 31, 2025, the company’s first batch of carbon fiber reinforced polypropylene (CF/PP) prepreg officially commenced production......

April 03, 2025 Reading volume:248
新闻图片
Oriental Ningbo New Materials Honored Again as Beilun District's "Exemplary Enterprise of Outstanding Contribution"

On March 28, 2025, the Beilun District of Ningbo held the grand economic high-quality development......

April 03, 2025 Reading volume: 148
新闻图片
Optimizing Low-Pressure Steam Usage: Maoming Base Cuts Costs and Boosts Efficiency

The Maoming Base organized meetings among various production departments to explore new energy-saving measures and conducted a comprehensive......

March 28, 2025 Reading volume: 198
新闻图片
Carbon Fiber Project Construction Hits the "Fast-Forward Button"

FRecently, at the construction site of Oriental Energy (Maoming) Carbon Fiber Co., Ltd.......

March 27, 2025 Reading volume: 98
新闻图片
‌Leading the Materials Revolution: Carbon Fiber Reinforced Polypropylene Prepreg Preparation and Application Technology Development Project Officially Launched

The Carbon Fiber Reinforced Polypropylene (CF/PP) Prepreg Preparation and Application Technology Development Project was officially launched at the Nanjing......

March 21, 2025 Reading volume:238
新闻图片
‌Oriental Energy (Ningbo) Phase III Project Successfully Develops Special Blue-based Transparent PP Materials PPR-MT26CL/MT60CL

Oriental Energy successfully developed two high-transparency, high-fluidity polypropylene specialty materials......

March 20, 2025 Reading volume:248
新闻图片
Smart Equipment Optimizes Production Efficiency: Two Invention Patents Enter Substantive Examination Phase

Oriental Energy has achieved significant milestones in its 10,000-ton carbon fiber Phase I project......

March 14, 2025 Reading volume: 148
新闻图片
‌‌Orietal Energy Maoming Base Organizes Coastal Ecological Restoration Volunteer Event at Jida Bay

On Arbor Day, March 12, 2025, Oriental Energy Maoming Base actively responded to the Guangdong......

March 12, 2025 Reading volume: 198
新闻图片
Oriental Energy Maoming Base Conducts Specialized Training on Fire Emergency Rescue Skills

From March 4 to 7, 2025, Oriental Energy's Maoming base organized a comprehensive fire emergency rescue skills training for all shift team members......

March 10, 2025 Reading volume: 98